热点关注
污水臭气检测方法
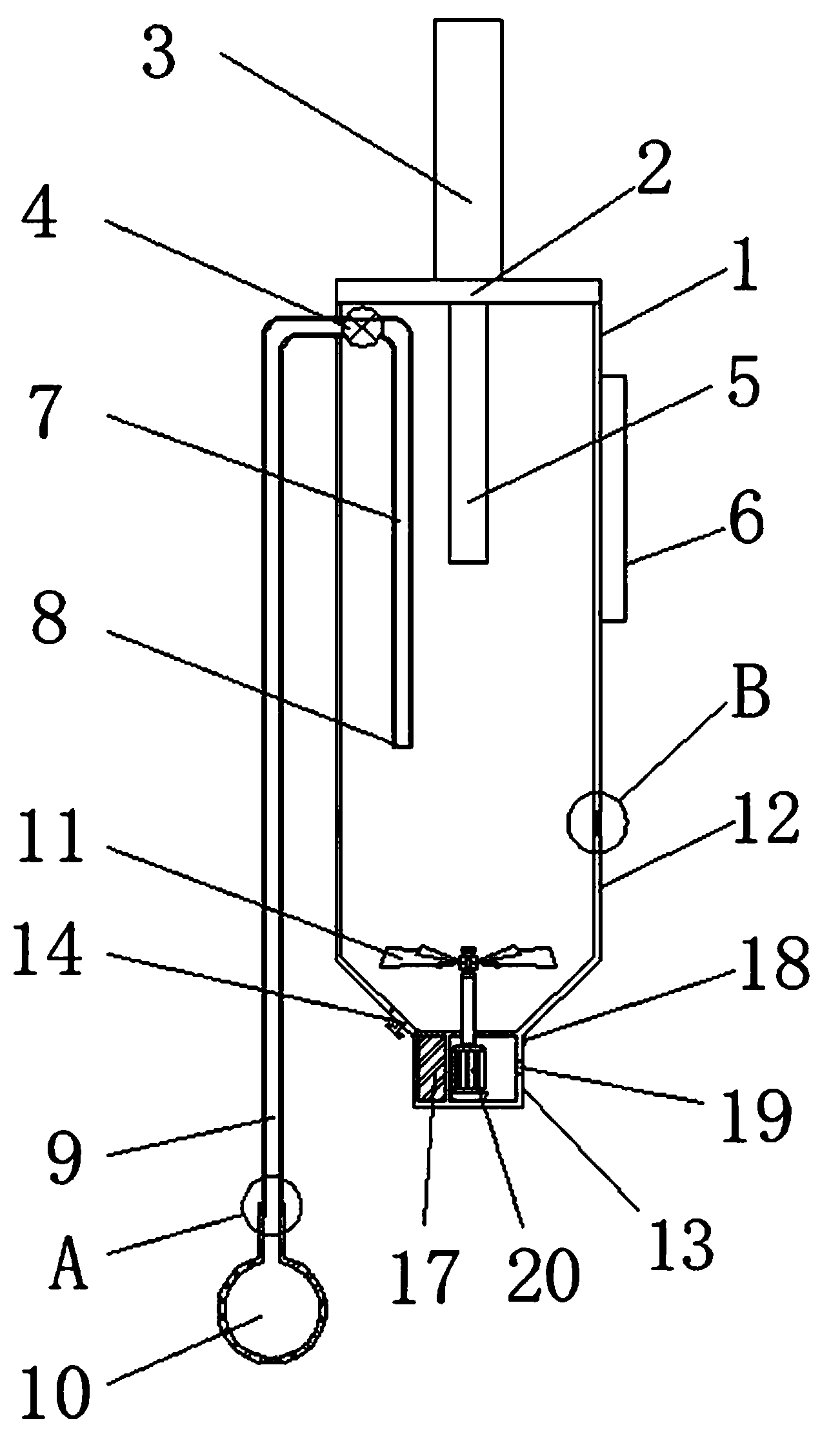
本实用新型公开了一种污水臭气检测装置,涉及气体检测领域,包括臭气储存箱,所述臭气储存箱顶部设置有安装板,所述安装板顶部设置有把手,所述安装板底部中间且在臭气储存箱内设置有臭气检测器,所述臭气储存箱顶部外侧一端设置有软质导管所述软质导管一端螺纹连接有过滤球,所述软质导管另一端且在臭气储存箱内连接有水泵,所述水泵连接有导出管,所述臭气储存箱底部螺纹连接有污水储存箱,所述污水储存箱底部设置有电机箱。本实用新型本实用新型通过设置把手、软质导管、过滤球、水泵及导出管,在使用时,可直接将污水吸入装置进行检测,不需要额外取样,使用方便,且过滤球可对检测的污水进行过滤。
权利要求书
1.一种污水臭气检测装置,包括臭气储存箱(1),其特征在于:所述臭气储存箱(1)顶部设置有安装板(2),所述安装板(2)顶部设置有把手(3),所述安装板(2)底部中间且位于臭气储存箱(1)内设置有臭气检测器(5),所述臭气储存箱(1)的内侧顶端安装有水泵(4),所述水泵(4)的进水端连接有延伸至臭气储存箱(1)外部的软质导管(9),所述软质导管(9)的末端连接有过滤球(10),所述水泵(4)的出水端连接有延伸至臭气储存箱(1)的内部底端的导出管(7),且导出管(7)的末端设置有导出口(8),所述臭气储存箱(1)底部螺纹连接有污水储存箱(12),所述污水储存箱(12)底部设置有电机箱(13),所述电机箱(13)内安装有电机(20),所述电机(20)输出端活动贯穿至污水储存箱(12)的内部并连接有搅拌器(11),所述污水储存箱(12)一侧底部设置有排水塞(14)。
2.根据权利要求1所述的一种污水臭气检测装置,其特征在于:所述臭气储存箱(1)外侧设置有控制面板(6),所述控制面板(6)设置有显示屏(15)与控制按钮(16)。
3.根据权利要求1所述的一种污水臭气检测装置,其特征在于:所述电机箱(13)内一侧设置有蓄电池(17),所述电机箱(13)一侧设置有散热口(19),所述电机箱(13)一侧位于散热口(19)上方设置有搅拌控制按钮(18)。
4.根据权利要求1或 2所述的一种污水臭气检测装置,其特征在于:所述水泵(4)、臭气检测器(5)和控制面板(6)之间呈电性连接,所述电机(20)、蓄电池(17)和搅拌控制按钮(16)之间呈电性连接。
5.根据权利要求1所述的一种污水臭气检测装置,其特征在于:所述过滤球(10)与软质导管(9)通过螺纹可拆卸连接。
说明书
一种污水臭气检测装置
技术领域
本实用新型涉及气体检测领域,具体为一种污水臭气检测装置。
背景技术
社会进步离不开工业的发展,工业发展推动社会前进,但也在带来很多负面影响,工业污水被排放进池塘,导致水资源被污染的很严重,所以为了抑制这样的事情发生,有关部门会去检查污水臭气的成分及浓度。
现有的污水臭气检测装置需要其他设备进行取样,使用不方便,且在检测时不能将污水中的臭气充分的散发出来,检测误差较大。
发明内容
本实用新型的目的在于:为了解决现有的污水臭气检测装置使用不方便,检测误差较大的问题,提供一种污水臭气检测装置。
为实现上述目的,本实用新型提供如下技术方案:一种污水臭气检测装置,包括臭气储存箱,所述臭气储存箱顶部设置有安装板,所述安装板顶部设置有把手,所述安装板底部中间且位于臭气储存箱内设置有臭气检测器,所述臭气储存箱的内侧顶端安装有水泵,所述水泵的进水端连接有延伸至臭气储存箱外部的软质导管,所述软质导管的末端连接有过滤球,所述水泵的出水端连接有延伸至臭气储存箱的内部底端的导出管,且导出管的末端设置有导出口,所述臭气储存箱底部螺纹连接有污水储存箱,所述污水储存箱底部设置有电机箱,所述电机箱内安装有电机,所述电机输出端活动贯穿至污水储存箱的内部并连接有搅拌器,所述污水储存箱一侧底部设置有排水塞。
优选地,所述臭气储存箱外侧设置有控制面板,所述控制面板设置有显示屏与控制按钮。
优选地,所述电机箱内一侧设置有蓄电池,所述电机箱一侧设置有散热口,所述电机箱一侧位于散热口上方设置有搅拌控制按钮。
优选地,所述水泵、臭气检测器和控制面板之间呈电性连接,所述电机、蓄电池和搅拌控制按钮之间呈电性连接。
优选地,所述过滤球与软质导管通过螺纹可拆卸连接。
与现有技术相比,本实用新型的有益效果是:本实用新型通过设置把手、软质导管、过滤球、水泵及导出管,在使用时,可直接将污水吸入装置进行检测,不需要额外取样,使用方便,且过滤球可对检测的污水进行过滤,所有污水进入污水储存箱后,污水储存箱设有电机及搅拌器等结构,可对污水进行搅拌,使污水中的臭气被充分散发出来,降低检测误差,且臭气储存箱与污水储存箱是可拆卸连接,检测完成后,通过拆卸分离便于清理。
- 2021-07-14久马高速生活污水设备操作培训
- 2021-07-14四川交建污水处理技术培训
- 2021-03-31污水药剂搅拌装置及其使用方法
- 2020-10-02集沉砂隔油压榨一体过滤设备
- 2020-09-29市政污水排污管铺设施工系统















电话:88888888
手机:88888888647
邮箱:88888888